Augmenter les blocs à la fin dune rangée dans Filet Crochet
Découvrez comment augmenter les blocs à la fin d
Vous pouvez créer des bandes de biais en cousant simplement des bandes ensemble. De nombreux quilteuses préfèrent cette méthode de couture au fur et à mesure car c'est un bon moyen d'utiliser un morceau de tissu de taille impaire. Parce que vous coupez des bandes de biais au lieu d'un carré parfait, peu importe si votre choix de tissu de reliure a déjà été coupé.
Pour couper des bandes de biais en utilisant cette technique, suivez ces étapes simples :
À l'aide d'une règle, tracez des lignes sur un morceau de tissu à un angle de 45 degrés par rapport à la ligne de grain. Espacez les lignes de la largeur dont vous avez besoin pour vos bandes.
La plupart des règles transparentes destinées à la découpe rotative ont déjà des lignes à 45 degrés, elles sont donc particulièrement utiles pour cette tâche.
Découpez les bandes à l'aide d'un cutter rotatif.
Vous pouvez utiliser des ciseaux si vous préférez.

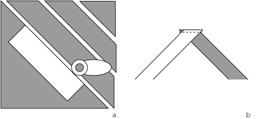
Vous pouvez réaliser un biais en coupant des bandes en diagonale (a) puis en les cousant ensemble (b).
Épinglez ensemble les extrémités courtes de deux bandes, comme indiqué en b de la figure précédente, endroit contre endroit. Décalez les bandes de sorte qu'il y ait une petite queue à chaque extrémité de la future couture.
Décaler légèrement les bandes permet un surplus de couture de 1/4 de pouce et produit les petites queues. Si vous ne décalez pas les bandes comme indiqué dans la figure précédente, vous n'aurez pas de ligne droite et lisse le long des bords de votre reliure.
Cousez les bandes ensemble là où elles sont épinglées, utilisez des ciseaux pour couper les petites queues de tissu et appuyez sur les surplus de couture pour les ouvrir.
Continuez à joindre les bandes jusqu'à ce que vous ayez assez de longueur pour lier votre courtepointe.
Découvrez comment augmenter les blocs à la fin d
La broderie sur du tissu au crochet crée une dimension et une expression supplémentaires. Découvrez les techniques modernes et les conseils d
Découvrez les meilleures techniques pour mouiller et bloquer vos articles au crochet. Apprenez à préserver la qualité de vos créations avec des méthodes efficaces et des conseils d’experts.
Découvrez les <strong>techniques modernes</strong> pour bloquer votre crochet ou tricot avec de l
Les torsades en tricot sont de petits cousins du câble tricoté. Apprenez à tricoter la torsade vers la droite avec des étapes simples et des conseils utiles.
Découvrez les abréviations essentielles au crochet pour 2024. Ce guide complet vous aide à maîtriser les termes techniques et à suivre vos modèles de crochet avec facilité.
Découvrez les solutions efficaces pour résoudre les problèmes de crochetage, notamment lorsque vous avez du mal à insérer votre crochet dans les points de suture. Optimisez votre technique de crochet avec nos conseils pratiques.
En général, deux types de magie existent : la magie visuelle et le mentalisme. Voici une explication de la différence entre les deux avec une liste d'exemples d'effets mentaux : Magie visuelle : ce côté traditionnel de l'art se concentre sur les effets, tels que les productions, les disparitions, les transpositions et les lévitations. Pensez aux gars en queue de pie et aux chapeaux haut de forme produisant […]
Vous avez lu vos guides de prix, vos catalogues d'enchères et vos journaux de commerce d'antiquités. Vous avez parcouru de longues routes de campagne pour trouver des ventes aux enchères et vous êtes promené sur la pointe des pieds dans des centres commerciaux d'antiquités, flairant les dormeurs. Vous avez posé des questions et manipulé plusieurs dizaines d'antiquités. Vous êtes prêt à acheter, vous devez donc être prêt à négocier. L'approche des mœurs […]
Cette étole multifils permet à une collection de beaux fils de faire le travail pour vous - le tricot pourrait difficilement être plus simple, mais l'étole multifils qui en résulte est magnifique. (Une étole est comme une écharpe géante que vous utilisez pour envelopper vos bras et vos épaules.) Crédit : Photographie par Mark Madden/Kreber Voici les matériaux de ce projet […]